武芯烧录器支持瑞萨RENESAS R8C/LA3A系列
发布时间:2025-12-24 17:47:59
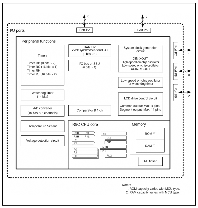
瑞萨R8C/LA3A微控制器系列内嵌R8C CPU内核,内部集成了可进行高速运算处理的乘法器,可高效处理运算任务。具有1M字节的地址空间与精简强效的指令集,从而实现高速指令执行。在外围功能配置上,集成了定时器和串行接口等功能模块,有助于减少系统组件的数量,节约系统成本。且内部配备了2块1kb的数据闪存,支持在线擦写与掉电保持,为关键参数存储或固件动态更新提供可靠保障。封装形式采用32管脚塑模LAFP,兼顾紧凑体积与良好的散热表现,适配小型化设备。
其中,R8C/LA3A群在能效方面的表现突出:一方面搭载低功耗的架构设计,配合工作模式允许额外的电源控制,动态调节功耗,延长电池续航。另一方面通过优化电路设计,最大化抑制电磁干扰(EMI)和提升电磁抗扰度(EMS)性能,确保在复杂的电磁环境中也能稳定运行,尤其适用于低复杂度控制场景。如小型家用电器的电机调速、简易温度/湿度传感器的节点数据采集与上报等轻量级嵌入式系统应用。
主要特性:
CPU:89条基本指令、1M字节地址空间、32位乘法器;
储存器:ROM、RAM、数据闪存(1KBx2块);
输入/输出接口:26个,电流驱动接口8个;
时钟:XIN时钟生产电路、内部振荡器(高速、低速)、XCIN时钟生产电路、XIN 时钟振荡停止检测功能、分频电路、低功耗模式:标准运行模式(高速时钟、低速时钟、高速(低速)片上振荡器)、等待模式、停止模式、断电模式;
中断:69个中断向量、外部13个中断源;
看门狗:14位x1分频器、可选择复位启动功能、看门狗定时器的可选择低速片上振荡器;
定时器:定时器RB(8位x2)、定时器RC(16位);
串行接口:UART0(UART或时钟同步串行I/O)、I²C总线、SSU、A/D转换器(10位x5通道)、比较器B1、LCD驱动控制电路(11个引脚);
工作环境温度:-20~85°C(N版) 、-40~85°C(D版);
封装:32管脚塑模LQFP;

内部框图
武芯科技作为通用型芯片烧录器制造商,专注于IC烧录、测试领域。在持续优化更新烧录软件的同时,也在积极扩充和兼容各大厂商的芯片型号的烧录。ET9800烧录器支持一拖八烧录,同时提供联机、脱机等工作模式,可全方位满足瑞萨R8C全系列芯片的裸片离线烧录与在板烧录的量产需求。

ET9800是一款支持联机、脱机的量产型高速烧录器。采用高性能ARM+FPGA的硬件架构设计,编程带宽高达1.6Gb/s;内置128GB eMMC母头模块,能高效提升eMMC母片拷贝的量产效率;配备4.3英寸LCD触摸屏,优化脱机操作的交互体验;支持“一拖八”并行烧录,可实现复杂多样的烧录需求;且设备集成多种丰富接口,涵盖100/1000M以太网、SD卡、USB2.0 Device、RS-232串口、电源开关及接地端子等,灵活适配多元应用场景。同时提供上位机与下位机软件,支持自动化场景定制,适配智能化产线需求;支持各大厂商各种封装的MCU、eMMC、SPI、Nor/Nand flash、Parallel Nor/Nand flash、EEPROM及DSP等类型芯片,烧写稳定、高效。为客户提供创新的多场景芯片(IC)烧录解决方案。