武芯烧录器支持瑞萨RENESAS R8C/36C系列
发布时间:2025-12-23 12:07:56
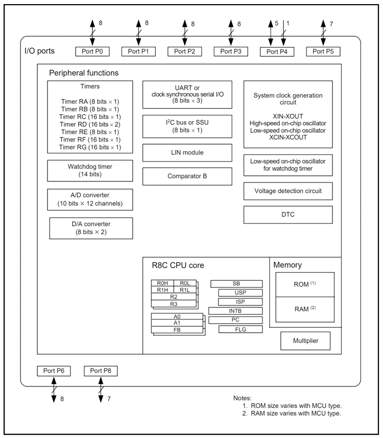
瑞萨R8C/36C微控制器系列内嵌R8C CPU内核,并搭载高速运算的专用乘法器。R8C/36C群作为R8C/35A群“同平台通信优化版本”,R8C/36C群同样具备1M字节的地址空间,能够流畅、高效地执行各类运行任务。二者皆内部集成了4块1KB的数据闪存配置,并支持后台操作(BGO)功能,可在不影响主程序运行的前提下完成数据擦写。此外,它们皆集成了多种外设功能,包括多功能定时器和多类型串行接口等,从而减少系统组件数量,简化硬件设计。
其中,两者核心差异在于I²C接口与定时器的具体实现上:R8C/36C群针对于SDA2引脚的I²C通信接口进行了稳定性优化,有效减少在工业环境下出现通信错误的风险;同时对多功能定时器进行了功能微调,增加了部分通道,如定时器RF、定时器RG等,提供更灵活的PWM输出能力。这些优化也使得R8C/36C群更适用于对I²C通信稳定性有较高要求的工业场景,如电机控制、智能仪表等。
主要特性:
CPU:89条基本指令、1M字节地址空间、32位乘法器;
储存器:ROM、RAM、数据闪存(1KBx4块);
接口:UART或时钟同步串行I/O、A/D转换器、比较器B、LIN模块、I²C总线或SSU、;
中断:69个中断向量、外部9个中断源;
定时器:定时器RA(8位)、定时器RB(8位)、定时器RC(16位)、定时器RD(16位x2位)、定时器RE(8位)、定时器RF(16位)、定时器RG(16位);
看门狗:14位x1分频器、可选择复位启动功能;
时钟:XIN时钟生产电路、内部振荡器(高速、低速)、XCIN时钟生产电路、XIN 时钟振荡停止检测功能、分频电路、低功耗模式:标准运行模式(高速时钟、低速时钟、低速片上振荡器)、等待模式、停止模式;
其他外围功能:DTC(数据传输控制器)、电源电压检测、比较器A/B;
工作环境温度:-20~85°C(N版) 、-40~85°C(D版);
封装:64管脚塑模LQFP、64管脚塑模TQFP;

内部框图
武芯科技作为通用型芯片烧录器制造商,专注于IC烧录、测试领域。在持续优化更新烧录软件的同时,也在积极扩充和兼容各大厂商的芯片型号的烧录。ET9800烧录器支持一拖八烧录,同时提供联机、脱机等工作模式,可全方位满足瑞萨R8C全系列芯片的裸片离线烧录与在板烧录的量产需求。

ET9800是一款支持联机、脱机的量产型高速烧录器。采用高性能ARM+FPGA的硬件架构设计,编程带宽高达1.6Gb/s;内置128GB eMMC母头模块,能高效提升eMMC母片拷贝的量产效率;配备4.3英寸LCD触摸屏,优化脱机操作的交互体验;支持“一拖八”并行烧录,可实现复杂多样的烧录需求;且设备集成多种丰富接口,涵盖100/1000M以太网、SD卡、USB2.0 Device、RS-232串口、电源开关及接地端子等,灵活适配多元应用场景。同时提供上位机与下位机软件,支持自动化场景定制,适配智能化产线需求;支持各大厂商各种封装的MCU、eMMC、SPI、Nor/Nand flash、Parallel Nor/Nand flash、EEPROM及DSP等类型芯片,烧写稳定、高效。为客户提供创新的多场景芯片(IC)烧录解决方案。