武芯烧录器支持NXP MC9S08PT16系列芯片编程烧录
发布时间:2026-04-13 17:01:34
MC9S08PT16系列是恩智浦(NXP)的8位微控制器,可满足工业控制和用户界面在严苛环境中的应用需要。作为性能卓越的工业“多面手”能够在严苛的环境中稳定工作,满足各种复杂的应用需求。
从存储性能上看,该系列芯片带有片上EEPROM,可进行 500K - 1M 次写入 / 擦除操作,就像拥有一个坚固耐用的 “数据仓库”,能可靠地存储和修改大量数据。。同时,优化的闪存 / RAM 比,配备16KB 的 RAM,让数据处理和存储更加高效,为各种应用提供了坚实的 “内存后盾”。
在外设配置上,集成了丰富外设功能。环路控制的Pierce 振荡器、 2 通道 Flex 定时器,多通道定时器模块,为精准定时控制提供了有力支持,无论是电机转速调节还是信号脉冲输出,都能做到分毫不差。2x SCI、2x UART、ISPI、LIN 以及I2C 接口,就像是一条条 “信息高速公路”,让芯片与其他设备之间的数据传输畅通无阻。增强型看门狗时刻守护着系统的稳定运行,可编程 CRC 则为数据传输的准确性保驾护航。高精度内部时钟就像一个精准的 “时钟大师”,无需额外复杂的时钟电路,就能确保系统时钟的精准度。此外,12 通道12 位 SAR ADC 等重要功能,能在不同级别上提供高分辨率的模拟信号转换,极大地简化了设计并降低了系统成本。安全性方面也没落下,完全符合家电安全标准IEC60730的要求。
主要特性:
8位S08中央处理单元(CPU) ,总频率可达20MHz
工作电压2.7 V 至 5.5 V
工作温度范围-40℃至105℃
16KB RAM、片上EEPROM
节能模式
允许在stop3 模式下保持对特定外设的时钟开启
时钟–振荡器 (XOSC)
环路控制的Pierce 振荡器
配有独立时钟源的看门狗
低电压检测,可选择复位或中断
开发支持
一个模拟比较器
带滤波功能– ADC - 12通道,12位分辨率自动比较功能
停止模式下可操作
可选硬件触发CRC
可编辑循环冗余校验模块
FTM 一个2通道模块;
16位计数器
一个互连电路模块
支持SMBUS和PMBUS
16位实时时钟计数器 (RTC)
两个串行通信接口(SCI/UART)模块
支持LIN扩展
一个8位串行外设接口(SPI)
最多37个GPIO输入/输出
一个8位键盘中断模块(KBI)
封装选项:44引脚LQFP、32引脚LQFP、20引脚SOIC、20引脚TSSOP、 16引脚TSSOP

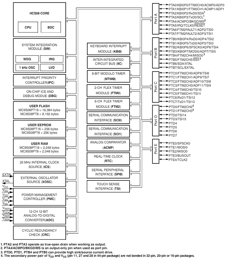
内部框图

ET9800是一款支持联机、脱机的量产型高速烧录器。采用高性能ARM+FPGA的硬件架构设计,编程带宽高达1.6Gb/s;内置128GB eMMC母头模块,能高效提升eMMC母片拷贝的量产效率;配备4.3英寸LCD触摸屏,优化脱机操作的交互体验;支持“一拖八”并行烧录,可实现复杂多样的烧录需求;且设备集成多种丰富接口,涵盖100/1000M以太网、SD卡、USB2.0 Device、RS-232串口、电源开关及接地端子等,灵活适配多元应用场景。同时提供上位机与下位机软件,支持自动化场景定制,适配智能化产线需求;支持各大厂商各种封装的MCU、eMMC、SPI、Nor/Nand flash、Parallel Nor/Nand flash、EEPROM及DSP等类型芯片,烧写稳定、高效。为客户提供创新的多场景芯片(IC)烧录解决方案。