武芯烧录器支持NXP MC9S08PA4 系列芯片编程烧录
发布时间:2026-04-03 10:27:43
MC9S08PA4系列是NXP(恩智浦)基于8位S08内核推出的一款微控制器,旨在以高集成度简化系统设计并降低整体成本。该系列MCU集成 EEPROM、ADC、模拟比较器、电机控制专用模块以及灵活定时器等功能,非常适合对成本和空间敏感的应用场景。在存储与非易失性数据管理方面,该系列提供 4 KB 的 RAM 以及片上 EEPROM,其中 EEPROM 支持高达 50 万至 100 万次的写入/擦除操作,满足频繁参数存储与日志记录的耐久性需求。
在外设配置方面,MC9S08PA4 集成了丰富的功能模块,主要包括灵活的定时器资源、实时计数器(RTC)、丰富的通信接口及系统可靠性模块;在可靠性与环境适应性方面,S08PA 系列具备优异的 EMC(电磁兼容性)与 ESD(静电放电)性能,可满足工业控制及恶劣环境下的用户界面应用需求,并符合家电安全标准 IEC 60730。此外,该系列属于可扩展且引脚兼容的 MCU 家族,能够复用现有的 S08 内核、IP 核及开发工具,帮助工程师从现有的 8 位 S08 产品平滑迁移,显著缩短产品开发周期。
主要特性:
提高了闪存/RAM比(PT60为4 KB RAM)
片上EEPROM,可进行500K~1M次写入/擦除操作
64引脚带滤波功能的最多57路通用IO
8个引脚带20 mA灌电流驱动功能
两个引脚带真漏极开路
PT/PA级上高达12 位,PL级上高达10位分辨率的线性逐次逼近算法
最多16通道单端外部模拟输入
12位、10位和8位模式,深达八层的结果FIFO
单次或连续转换(单次转换后自动返回到空闲状态)
6通道、+ 2通道、+ 2-通道Flex定时器:2 x MTIM
实时计数器
3 x SCI,2 x SPI,I2C
增强型看门狗和可编程CRC
高精度内部时钟

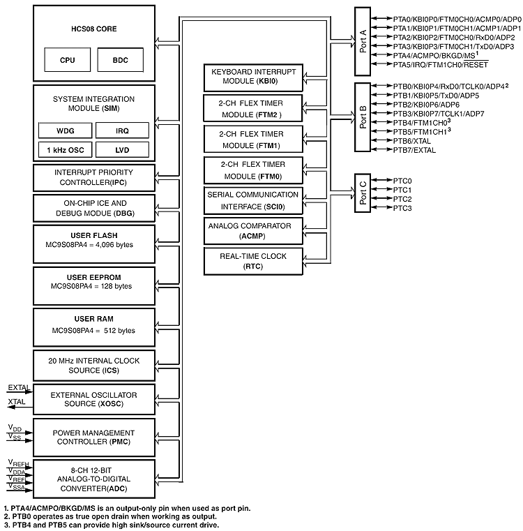
内部框图
