武芯烧录器支持德州仪器(TI) MSP430x43x1, MSP430x43x, MSP430x44x1, MSP430x44x芯片编程烧录
发布时间:2026-02-05 10:30:59
MSP430x43x1, MSP430x43x, MSP430x44x1, MSP430x44x是德州仪器(TI)的 MSP430™ 系列成员,是16位超低功耗微控制器产品。由多种型号组成,各型号通过差异化的外设组合来匹配各类应用需求。其架构融合了五种低功耗运行模式,经过专门优化,可在便携式测量应用中有效延长电池续航时间。该系列设备搭载功能强大的16位RISC CPU,配合16位寄存器与常量生成器,能够显著提升代码执行效率。芯片内置的数控振荡器(DCO)具备快速唤醒能力,可在少于6µs的时间内将系统从低功耗模式切换至活动模式,兼顾低功耗与实时响应。
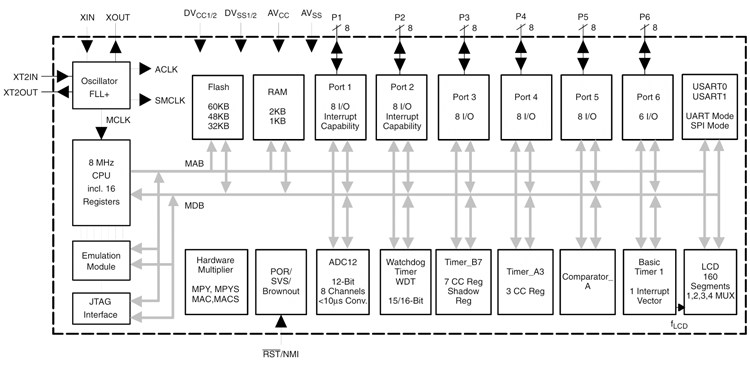
在 MSP430x43x(1)与 MSP430x44x(1)系列中,微控制器均配置有两个内置16位定时器、快速12位A/D转换器(MSP430F43x1与MSP430F44x1未集成此模块)、一个或两个通用同步/异步串行通信接口(USART)、48个I/O引脚,以及最多支持160段的液晶显示驱动器(LCD),非常适合需要本地数据显示的应用。
其典型应用包括传感器系统——用于捕获模拟信号、将其转换为数字值,并在处理后传输至主控系统或直接显示在LCD面板上。丰富的定时器资源使该系列尤其适合工业控制领域的多种场景,如脉冲计数、数字电机控制、电能表、手持式仪表等。此外,部分型号集成硬件乘法器,可加速数学运算,提升系统性能,并为开发者提供广泛的代码与硬件兼容性,满足从简单控制到复杂信号处理的不同需求。
主要特性
低电源电压范围:1.8V ~3.6V
超低功耗模式:
主动模式:280 μA,频率1 MHz,电压2.2 V
待机模式:1.1 μA
关机模式(内存保留):0.1 μA
五种省电模式
从待机模式唤醒时间少于6微秒
16位RISC架构,125纳秒指令周期时间
12位A/D转换器,带有内部参考、采样保持和
自动扫描功能
16位Timer_B,配备三(1)或七(2)个捕获/与影子比较寄存器
带有三个捕获/比较寄存器的16位Timer_A
片上比较器
串行通信接口(USART)、选择异步UART或按软件实现同步SPI
电压检测器
带可编程电平检测的供电电压监控器/监控器
串行板载编程,无需外部编程电压
通过安全保险丝实现的可编程代码保护
集成液晶驱动,支持最多160个段
家庭成员包括:
MSP430F435,MSP430F4351(16KB 256B 闪存、512B 内存)
MSP430F436,MSP430F4361(24KB 256B 闪存、1KB 内存)
MSP430F437,MSP430F4371 (32KB 256B 闪存、1KB 内存)
MSP430F447(32KB 256B 闪存、1KB 内存)
MSP430F448,MSP430F4481(48KB 256B 闪存、2KB 内存)
MSP430F449,MSP430F4491(60KB 256B 闪存、2KB 内存)

功能框图
武芯科技作为通用型芯片烧录器制造商,专注于IC烧录、测试领域。在持续优化更新烧录软件的同时,也在积极扩充和兼容各大厂商的芯片型号的烧录。ET9800烧录器支持一拖八烧录,同时提供联机、脱机等工作模式,可全方位满足德州仪器(TI)MSP430x43x1, MSP430x43x, MSP430x44x1, MSP430x44x系列芯片的裸片离线烧录与在板烧录的量产需求。

ET9800是一款支持联机、脱机的量产型高速烧录器。采用高性能ARM+FPGA的硬件架构设计,编程带宽高达1.6Gb/s;内置128GB eMMC母头模块,能高效提升eMMC母片拷贝的量产效率;配备4.3英寸LCD触摸屏,优化脱机操作的交互体验;支持“一拖八”并行烧录,可实现复杂多样的烧录需求;且设备集成多种丰富接口,涵盖100/1000M以太网、SD卡、USB2.0 Device、RS-232串口、电源开关及接地端子等,灵活适配多元应用场景。同时提供上位机与下位机软件,支持自动化场景定制,适配智能化产线需求;支持各大厂商各种封装的MCU、eMMC、SPI、Nor/Nand flash、Parallel Nor/Nand flash、EEPROM及DSP等类型芯片,烧写稳定、高效。为客户提供创新的多场景芯片(IC)烧录解决方案。