武芯烧录器支持NXP ARM微控制器LPC83x系列芯片编程烧录
发布时间:2026-03-23 15:14:46
LPC83x系列是NXP(恩智浦)推出的一款基于 ARM Cortex-M0+内核的低成本32位微控制器,CPU最高工作频率为30MHz。该系列在 LPC81x 的基础上进行了功能扩展,主要体现在大幅提升闪存容量的同时,新增了一款采样率高达 1.2 Msps 的 12 位 ADC,从而在保持低功耗特性的同时增强了模拟信号处理能力。在存储资源配置方面,LPC83x 提供最多 32 KB 的片内 Flash 程序存储器,相比前代产品显著增加了代码存储空间;4 KB 的 SRAM 数据存储器,用于运行时变量存储和程序堆栈。
在外设功能方面,LPC83x 集成了丰富的模块以支持多样化的应用需求,具体包括CRC校验引擎、一个 I²C 总线接口、一个 USART 接口、最多两个 SPI 接口、多速率定时器、自唤醒定时器、状态可配置定时器(SCTimer/PWM)、DMA 控制器、12 位模数转换器(ADC)和基于开关矩阵的可配置 I/O 端口。配置的一个输入模式匹配引擎,可监测多个输入引脚的状态变化,并在满足预设条件时触发中断或事件,减轻CPU 对输入的轮询负担。最多29 个通用 I/O 引脚在小型封装下仍提供良好的扩展能力,满足多外设连接需求,广泛适用于工业控制、消费电子、电机控制和安全应用等领域。
主要特性:
CPU:ARM Cortex-M0+内核 ,工作频率高达30MHz
存储器:高达32KB片上闪存、4KB EEPROM
数字外设:最多29个通用输入输出(GPIO)引脚、四个管脚具备大电流源输出驱动能力(20mA)、 两个真正开漏管脚具备大电流灌入驱动能力(20mA)、GPIO中断生成功能、CRC 引擎、带18条通道和8个触发器输入的DMA
定时器:状态可配置定时器(SCTimer/PWM)、四通道多速率定时器(MRT)、自唤醒定时器(WKT)、窗口看门狗定时器(WWDT)
模拟外设:一个12位ADC
串行接口:一个USART 接口、 两个 SPI 控制器、 一个I2C总线接口
时钟生成:12MHz 内部RC振荡器、晶体振荡器、可编程看门狗振荡器、带分频器的时钟输出功能
低功耗模式:休眠模式、深度休眠模式、关机模式和深度关机模式
上电复位(POR)
掉电检测
唯一的设备识别序列号
单一电源(1.8V至3.6V)
工作温度范围 -40 °C 至85°C
可提供TSSOP20和HVQFN33 (5x5)两种封装

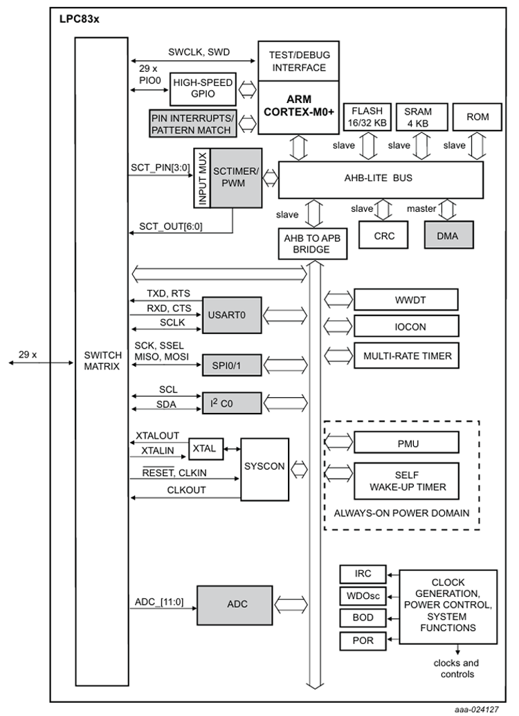
内部框图
武芯科技作为通用型芯片烧录器制造商,专注于IC烧录、测试领域。在持续优化更新烧录软件的同时,也在积极扩充和兼容各大厂商的芯片型号的烧录。ET9800烧录器支持一拖八烧录,同时提供联机、脱机等工作模式,可全方位满足NXP(恩智浦)LPC83x系列芯片的裸片离线烧录与在板烧录的量产需求。

ET9800是一款支持联机、脱机的量产型高速烧录器。采用高性能ARM+FPGA的硬件架构设计,编程带宽高达1.6Gb/s;内置128GB eMMC母头模块,能高效提升eMMC母片拷贝的量产效率;配备4.3英寸LCD触摸屏,优化脱机操作的交互体验;支持“一拖八”并行烧录,可实现复杂多样的烧录需求;且设备集成多种丰富接口,涵盖100/1000M以太网、SD卡、USB2.0 Device、RS-232串口、电源开关及接地端子等,灵活适配多元应用场景。同时提供上位机与下位机软件,支持自动化场景定制,适配智能化产线需求;支持各大厂商各种封装的MCU、eMMC、SPI、Nor/Nand flash、Parallel Nor/Nand flash、EEPROM及DSP等类型芯片,烧写稳定、高效。为客户提供创新的多场景芯片(IC)烧录解决方案。