武芯烧录器支持NXP ARM微控制器LPC11E3x系列芯片编程烧录
发布时间:2026-03-16 16:47:31
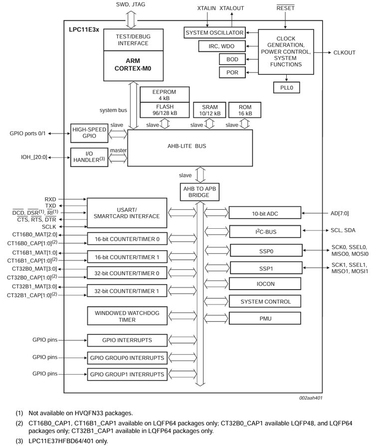
LPC11E3x 系列是恩智浦(NXP)推出的一款基于ARM Cortex-M0 内核的低成本32位微控制器 CPU 最高运行频率可达 50 MHz。面向嵌入式应用,旨在替代和升级传统的8 位或 16 位 MCU 应用,主要适用于消费电子设备、医疗、手持扫描仪和工业控制等应用场景。
在存储配置方面,LPC11E3x 系列提供灵活的资源组合,最高 128 KB 的片内 Flash 程序存储器、最高 12 KB 的 SRAM 数据存储器和4 KB 的 EEPROM 非易失性存储区,以满足不同应用对程序与数据存储的需求。此外,该系列集成多种丰富的外设接口,包含一个支持 Fast Mode Plus 的高速 I²C 总线接口、一个兼容 RS-485 / EIA-485 标准的 USART 接口、两个带 SSP(同步串行端口)功能的 SPI 接口、四个通用计数器/定时器、一个 10 位模数转换器(ADC)和最多54个通用I/O引脚,提供灵活的硬件接口能力,以确保良好的连接性与扩展性。I/O处理器是一个由软件库支持的硬件引擎,可用于提高系统设计的性能、连接性和灵活性。且I/O 处理器可以模拟 UART、I2C 和 I2S 等串行接口,几乎不会增加 CPU 负载,通过在硬件中执行 DMA 传输等处理密集型功能来分担 CPU 的工作。
主要特性:
CPU: ARM Cortex-M0 处理器,工作频率高达50MHz
存储器:最高128KB片上闪存、12KB SRAM数据存储器、4KB 片内EEPROM数据存储器、 16 kB 启动 ROM
数字外设:最多54个通用输入输出(GPIO)引脚、四个通用计数器/定时器、低功率低频看门狗振荡器(WDO)
模拟外设:10 位ADC,输入在8个引脚中多路复用
串行接口:USART、两个SSP控制器、I²C总线接口
时钟:1MHz至25MHz系统振荡器、12 MHz高频内部RC振荡器(IRC)、低功率低频看门狗振荡器(WDO)、晶体振荡器、主时钟、红外频或看门狗振荡器
四种节能模式:睡眠模式、深度睡眠模式、掉电模式和深度掉电模式
上电复位(POR)
掉电检测,设有4个独立的阀值可触发中断和强制复位
识别器件的唯一序列号
3.3 V 单电源(1.8V至3.6V)
温度范围−40 °C至+85 °C
提供LQFP64、LQFP48和HVQFN33封装

功能框图
武芯科技作为通用型芯片烧录器制造商,专注于IC烧录、测试领域。在持续优化更新烧录软件的同时,也在积极扩充和兼容各大厂商的芯片型号的烧录。ET9800烧录器支持一拖八烧录,同时提供联机、脱机等工作模式,可全方位满足NXP(恩智浦)LPC11E3x系列芯片的裸片离线烧录与在板烧录的量产需求。

ET9800是一款支持联机、脱机的量产型高速烧录器。采用高性能ARM+FPGA的硬件架构设计,编程带宽高达1.6Gb/s;内置128GB eMMC母头模块,能高效提升eMMC母片拷贝的量产效率;配备4.3英寸LCD触摸屏,优化脱机操作的交互体验;支持“一拖八”并行烧录,可实现复杂多样的烧录需求;且设备集成多种丰富接口,涵盖100/1000M以太网、SD卡、USB2.0 Device、RS-232串口、电源开关及接地端子等,灵活适配多元应用场景。同时提供上位机与下位机软件,支持自动化场景定制,适配智能化产线需求;支持各大厂商各种封装的MCU、eMMC、SPI、Nor/Nand flash、Parallel Nor/Nand flash、EEPROM及DSP等类型芯片,烧写稳定、高效。为客户提供创新的多场景芯片(IC)烧录解决方案。