武芯烧录器支持德州仪器(TI) MSP430x21x1 芯片编程烧录
发布时间:2026-02-05 10:18:14
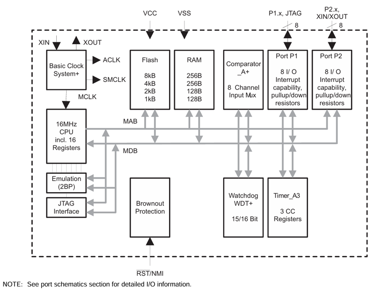
MSP430x21x1 是德州仪器(TI)MSP430™ 系列中的一员,属于超低功耗微控制器。该系列由多种型号组成,各型号通过不同的外设组合来精准匹配各类应用需求。其架构融合了五种低功耗运行模式,经过优化可在便携式测量应用中有效延长电池续航时间。芯片搭载功能强大的16位RISC CPU,配合16位寄存器与常量发生器,能够显著提升代码执行效率。实现更高的编码密度。内置的数控振荡器(DCO)具备极速唤醒性能,可在小于1µs的时间内将系统从低功耗模式切换至活动模式,兼顾低功耗与实时响应。
MSP430x21x1 系列作为超低功耗混合信号微控制器,内部集成16位定时器、多功能模拟比较器以及16个I/O引脚。其中,模拟比较器还支持斜率A/D转换功能,可在不使用独立ADC的情况下完成简易的模数转换。该系列的典型应用包括传感器系统——用于捕获模拟信号、将其转换为数字值并进行处理,以便显示或传输至主机系统;此外,它也适用于独立RF传感器前端等对功耗与信号检测有严格要求的领域。
主要特性
低电源电压范围:1.8V ~ 3.6V
超低功耗模式:
主动模式:250 μA,1 MHz,2.2 V
待机模式:0.7 μA
关机模式(内存保留):0.1 μA
从待机模式超快唤醒时间小于1微秒
16位RISC架构,62.5纳秒指令周期时间
基本时钟模块配置:内部频率最高可达16 MHz,配备四个校准、频率降至±1%、32 kHz晶体、高频晶体频率可达16 MHz、共振器、外部数字时钟源
带有三个捕获/比较寄存器的16位Timer_A
用于模拟信号比较功能或斜率的片上比较器
模拟转数字(A/D)转换
电压检测器
串行板载编程,无需外部编程电压,
通过安全保险丝实现的可编程代码保护
片上仿真模块
家庭成员包括:
MSP430F2101(1KB 256B 闪存、128B 内存)
MSP430F2111(2KB 256B 闪存、128B 内存)
MSP430F2121(4KB 256B 闪存、256B 内存)
MSP430F2131(8KB 256B 闪存、256B 内存)
封装:
提供20针塑料小外形宽体(SOWB)封装
20针塑料小轮廓薄(TSSOP)封装,20针TVSOP封装
以及24针QFN封装

功能框图
武芯科技作为通用型芯片烧录器制造商,专注于IC烧录、测试领域。在持续优化更新烧录软件的同时,也在积极扩充和兼容各大厂商的芯片型号的烧录。ET9800烧录器支持一拖八烧录,同时提供联机、脱机等工作模式,可全方位满足德州仪器(TI)MSP430x21x1 系列芯片的裸片离线烧录与在板烧录的量产需求。
